Las respuestas de la IA pueden contener errores.
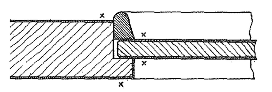
1 - La siguiente imagen es un detalle de sección de dos piezas que muestra una técnica de chapeado (la X indica la posición de la chapa con respecto a la pieza de madera ordinaria). Indique qué tipo de chapeado es:

Chapeado a una cara.
Chapeado a dos caras.
Chapeado a tres caras.
Chapeado a cuatro caras.